
【干貨】ABS塑料及產品注射成型工藝
- 注塑工藝- 閱 203
搜料網資訊: ABS通稱丙烯腈丁二烯苯乙烯,是由丙烯腈-丁二烯-苯乙烯三種單體共聚而成。由于三種單體的比例不同,可有不同性能和熔融溫度,流動性能的ABS如與其它塑料或添加劑共...
【干貨】PET瓶胚注塑時的注意事項
- 注塑工藝- 閱 789
搜料網資訊: 1、塑料的處理 由于PET大分子中含有脂基,具有一定的親水性,粒料在高溫下對水比較敏感,當水份含量超過極限時,在加工中PET分子量下降,制品帶色、變脆。困此,在...
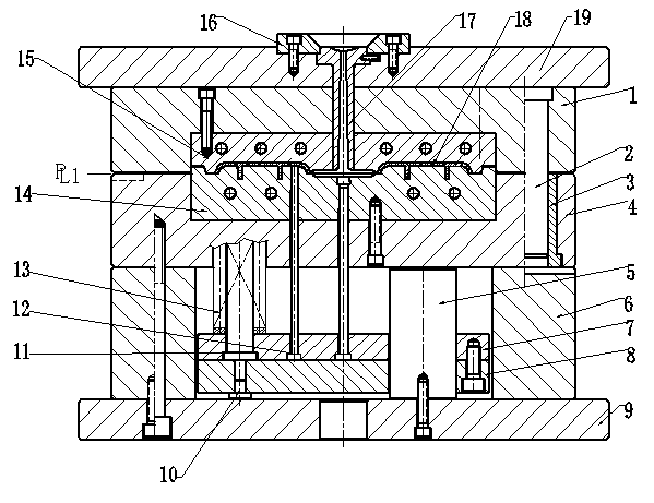
塑料模具 | 澆注系統介紹
- 其他知識- 閱 370
搜料網資訊: 根據澆注系統型制的不同可將塑料模具分為三類: (1) 大水口模具 :流道及澆口在分模線上,與產品在開模時一起脫模,設計最簡單,容易加工,成本較低,所以較多人...
【干貨】玻纖增強聚碳酸酯注塑成型故障得成因及對策
- 注塑工藝- 閱 320
搜料網資訊: 氣泡 (1)保壓時間太短且保持壓力太低。應適當延長保壓時間,保持壓力至少為80MPa。 (2)澆口及流道截面尺寸太小。應適當放大,有時可加大噴嘴孔徑。 (3)緩沖墊...
聚丙烯改性料的收縮率探討
- 材料介紹- 閱 331
搜料網資訊: 聚丙烯是通用塑料中用量較大的品種之一,具有密度小,剛性好,耐撓曲,耐化學腐蝕,絕緣性好等優點。它的不足之處是低溫沖擊性能較差、易老化、成型收縮率大。...
【干貨】氣輔制品和模具設計基本原則
- 其他知識- 閱 339
搜料網資訊: (1)設計時先考慮哪些壁厚處需要掏空,哪些表面的縮痕需要消除,再考慮如何連接這些部位成為氣道。 (2)大的結構件:全面打薄,局部加厚為氣道。 (3)氣道應依...
長鏈聚酰胺可提供尺寸穩定性
- 其他知識- 閱 297
搜料網資訊: Ascend高性能材料公司推出了幾種HiDura長鏈聚酰胺的新等級,用于工程塑料、單絲和電纜扎帶。HiDuraPA610和612旨在提供尺寸穩定性和長生命周期,并增強耐化學性、抗沖擊性...
【干貨】注塑機多段射出與分段射出塑料流動原理
- 其他知識- 閱 421
搜料網資訊: 一、多段射出塑料流動原理: 1、第一射膠低速進膠,將噴嘴到冷料頭移開再提高二段射速充滿模穴以縮短澆口部塑料流到末端的時間,使充填中的塑料粘度維持最小的固...
“聚砜”類注塑品的成型故障、成因及對策
- 注塑工藝- 閱 207
搜料網資訊: 現象:表面雜質 成因及對策 1.料筒溫度太高,導致熔料過熱分解。應適當降低。 2.熔料在料筒內滯留時間太長。造成分解,特別是不連續生產時,保留在料筒中的熔料已分...

搜料網資訊: 一、干燥溫度 定義 為保證成型質量而事先對聚合物進行干燥所需要的溫度 作用 1.去除原料中的水份 2.確保成品質量 設定原則 1.聚合物不致于分解或結塊(聚合) 2.干燥時...
注塑機機頭溢料的解決方法
- 注塑工藝- 閱 292
搜料網資訊: 溢料(飛邊) 溢料又稱飛邊、溢邊、披鋒等,大多發生在模具得分合位置上。如:模具的分型面,滑塊的滑配部位,鑲件的縫隙,頂桿的孔隙等處。溢料不及時解決將會進...
生物降解塑料品類有哪些?
- 其他知識- 閱 329
搜料網資訊: 根據生物降解塑料的原料來源,可將其分為 生物基生物降解塑料及石化基生物降解塑料兩 類。 生物基生物降解塑料主要可分為四類:第一類為天然材料直接加工得到的塑...
生物降解材料的判定標準
- 其他知識- 閱 371
搜料網資訊: 可生物降解性是PBS聚酯的重要性質,目前國際上評價塑料生物降解性能的主要方法是堆肥法,堆肥中含有豐富的微生物源,能在一定程度上宏觀反映塑料在自然環境中的生...
生物降解材料——聚乳酸PLA
- 材料介紹- 閱 1466
搜料網資訊: 聚乳酸 PLA 的原料為乳酸,主要由玉米淀粉等生物質資源合成,是生物基生物降解塑料的代表之一。 PLA的熔點較低(一般為160~ 165 C),加工溫度低,機械強度高,透明度好,...
一文了解國內外可降解塑料的檢測方法及認證標準
- 其他知識- 閱 328
搜料網資訊: 21世紀以來,保護地球、構筑資源循環型社會,走可持續發展道路,已成為世界關注熱點和緊迫任務。生物降解塑料作為有限的、日漸減少、日趨枯竭的不可再生的石油資...